More Information

Submitted: November 29, 2023 | Approved: December 12, 2023 | Published: December 13, 2023

How to cite this article: Gazziro M, Vasques M, Real E, Carmo J, Kunkel M. Automatic Hand Features Extraction for Forensic Purposes. J Forensic Sci Res. 2023; 7: 077-082

DOI: 10.29328/journal.jfsr.1001054

Copyright License: © 2023 Gazziro M, et al. This is an open access article distributed under the Creative Commons Attribution License, which permits unrestricted use, distribution, and reproduction in any medium, provided the original work is properly cited.

Keywords: Anthropometry; Forensic science; Image processing

 FullText PDF

Automatic Hand Features Extraction for Forensic Purposes

Mario Gazziro1,2*, Matheus Vasques2, Eduardo Real2, João Carmo1 and Maria Kunkel3

1University of Sao Paul, Brazil
2Federal University of ABC, Brazil
3Federal University of São Paulo, Brazil

*Address for Correspondence: Mario Gazziro, University of Sao Paul, Federal University of ABC, Brazil, Email: [email protected]

This work describes a low computational cost image processing methodology for the identification of hand features for forensic applications – like height, gender, and ethnicity for suspect inference. The proposed methodology provides an adequately tailored sequence of image and geometrical processings on pictures of hands based on critical points like fingertips, finger valleys, and palm centers. As a result, we present the automatic measurements taken on 416 images compared with actual measurements from a manual caliper. The proposed approach leads to a 93.16% correlation (p - value < 0.05) related to the caliper, demonstrating the effectiveness of the technique.

The use of anthropometric features for forensic purposes is a field of research in full development. In several countries, researchers use databases of such features for forensic purposes, for example, measuring hand characteristics to infer height [1-5], gender [6], and even ethnicity [7]. However, similar developments are still absent in Brazil. The first challenge in this regard is the automatic identification of hand features from digital photos.

From the last 30 years we verify that, for most studies, the number of subjects is nearly two hundred, as depicted in Table 1. With the advent of modern Big Data, we can process thousands of data using advanced machine learning techniques to improve correlation near to 100%. So, the proposed work aims to create an approach to simplify data acquisition, providing effective big data solutions in the next stages of this research.

Table 1: Related work: Hand length versus subject height correlations by country (the correlation employed in these studies was a bivariate 2-tailed person).
Author and Year Country Subjects Correlation
[1] India 100 0.57
[2] Sri Lanka 258 0.59
[3] India 200 0.60
[4] United Kingdom 97 0.82
[5] Kashmiri 156 0.78

However, these studies achieve superior limits in correlation near 80% and can’t go any further, as presented in Figure 1.


Download Image

Figure 1: Hand length vs. subject height correlations by year (mean n =200).

In this sense, the motivation for the present works relies on the belief that by increasing the number of hand features extracted and expanding the number of subjects to a vast amount of people we can dramatically improve the final correlation (above 95%) between hand features and subject height, including the possibility to classify gender and ethnicity.

Based on the first Brazilian hand’s image database with 416 images (89 males and 119 females, both hands) acquired by us in previous work [8], we start the development of a novel approach to fully automate the measurements extraction to avoid a usually amount of labor in the process.

The database

The study was approved by the Ethics Committee of the Federal University of ABC (UFABC) under process number 1,334,138. The sample is made up of students, teachers, and employees from two campuses of the Federal University of São Paulo UNIFESP in the state of São Paulo. Only healthy volunteers aged between 18 and 55 years of both sexes were included in the sample. Volunteers with congenital or acquired malformations of the limbs, head, and spine were excluded, as well as those who underwent hand surgery, and users of lower and upper limb prostheses or spinal implants.

The data was collected from volunteers based on their self-declaration: Sex, Place of Birth, Age (years), Ethnicity and Hand Dominance. Height was measured in centimeters and was defined as the distance from the vertex of the volunteer’s head to the ground. Seven parameters of each hand were measured, including the length of the five fingers (distance between the tip and base of the proximal phalanx of each finger), the length of the palm (distance in a straight line between the distal crease of the wrist joint and the base of the proximal phalanx of the middle finger) and the width of the hand (distance between the radial side of the second metacarpophalangeal joint and the ulnar side of the fifth metacarpophalangeal joint).

Figure 2 shows: the length of the thumbs (CPd and CPe – right and left), indicators length (CId and CIe – right and left), medium fingers length (CMed and CMee – right and left); Ring fingers length (CAd and CAe – right and left); minimum fingers length (CMid and CMie – right and left); palms length (CPMd and CPMe – right and left) and hands width (LMd and LMe – right and left).


Download Image

Figure 2: Anthropometric parameters of the right and left hand.

A Sanny® portable vertical stadiometer was used to measure the volunteer’s height. To carry out measurements of hand configurations, six reference points were defined. Hand parameters were measured using a digital caliper (Mitutoyo Corp, Kanagawa). Hand images were digitized with an Epson Perfection V370 flatbed scanner (Figure 3).


Download Image

Figure 3: Hand images data acquisition process.

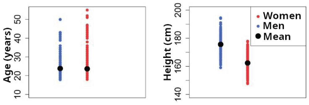
The sample totaled 427 individuals, 241 (56.4%) being female and 186 (43.6%) being male. The predominant ethnicity was white, which represented 62.3% of the sample and the proportion of individuals destroyed was 91.1%. The average age was 23.8 years for men and 23.7 years for women (p = 0.800). The average height was 175.6 cm for men and 162.4 cm for women (p = 0.001) (Figure 4).


Download Image

Figure 4: Distribution of Age and Height variables according to sex.

The analysis of variance to compare the hands and sexes of the volunteers showed that males had a greater average of all fingers, length, and width of the palm (p < 0.05) (Figures 5,6).


Download Image

Figure 5: Distribution of finger length variables (n = 854).


Download Image

Figure 6: Distribution of the variables palm length and hand width (n = 854).

For the sides of the hands, for the IC variable, only women did not report a statistical difference (p = 0.162). Only in men, the CMe variable showed no difference between the left and right hands (p = 0.999).

Since our database has raw images previously measured manually using a caliper we can validate our results from the automated approach developed.

The proposed approach seeks to attend to two requirements:

  • Fast processing: less than a minute to process a pair of hands is the aim since the subjects can wait until the processing is done before they are released;
  • Low computational resources demanded: the approach will be executed all over the country by several partners not always ensuring a high-end computation desktop or notebook

The desired measurement set to be extracted by our approach was presented in Figure 7: lengths of little, ring, middle and index fingers, thumbs, and palm length and width, both from the right and left hands.


Download Image

Figure 7: Desired measurements for automatic extraction.

Image preprocessing

The first stage of the process is the image segmentation (Figure 8b). We use a suitable set of parameters to perform a skin-color segmentation. After that, we compute a binarized image by applying a threshold (Figure 8c). Finally, we perform an edge detection using the Canny Algorithm (Figure 8d).


Download Image

Figure 8: Preprocessing stages. (a) Original image. (b) Segmentation. (c) Binarized image. (d) Hand’s edge.

Palm center finding, finger-tips, and finger-valleys determination

One key point in the hand’s feature extraction is to determine the center of the palm, regardless of the length of fingers or the interference of wrist image. To do this, we use the methodology developed by [9] to compute the morphological medial axis using OpenCV library functions (Figures 9a,9b).


Download Image

Figure 9: Palm center finding methodology [9]. (a) Morphology medial axis. (b) (b) Center determination.

Previously developed by [9], the finger-tips and finger-valleys (Figures 10a,10b) key-points detection use convex-hull primitives from OpenCV.


Download Image

Figure 10: Finger-tips and finger-valleys determination [9]. (a) Finger-tips. (b) Finger-valleys.

The middle finger, palm length, other fingers, and palm width determination

From now on we need to follow a particular order to reach all desired measurements since the next one depends on a previous one:

  1. Middle finger measurement
  2. Palm length measurement;
  3. Other finger measurements (little, ring, index, and thumb in any order);
  4. Palm width measurement.

Figure 6 presents the middle finger measurement methodology. Starting with the binarized image generated in the earlier preprocessing stage (Figure 11a), we connect the middle fingertip with the center of the palm (Figure 11b).

In the next steps, we create another line connecting the middle fingertip with the finger-valley located between the middle and index fingers. Then we project this new line over the first line (Figure 11c) and the result of this projection is the final measure line (Figure 11d).


Download Image

Figure 11: Middle finger measurement methodology. (a) Binarized image shape. (b) Connect tip with palm center. (c) Project tip-valley line. (d) Final measure.

Figure 12 introduces the palm length measurement methodology. It is straightforward and consists only of connecting the middle finger basis to the center of the palm and then extending this line by applying a 1.67 factor (a factor determined experimentally using the image database and manual caliper measurements).


Download Image

Figure 12: Palm length measurement methodology. (a) Extend middle-center line. (b) Final measure.

Once we have palm length, we also have the wrist key point at the far end of the palm length line. For the next step - measurement of other fingers and thumb - this key point will be crucial.

We start with the palm length line (Figure 13a) and then connect all finger and thumb tips to the wrist key point (all but the middle finger), as shown in Figure 13b. Then we perform similar projections as we did before with the middle finger but choose the nearest finger-valley for each finger and thumb (Figure 13c) and finally achieve the final measures (Figure 13d).


Download Image

Figure 13: Other fingers measurement methodology: little, ring, index, and thumb.. (a) Start with a palm-length line. (b) Connect all tips to this line. (c) Perform all valley projections. (d) Final measures.

The last measure is the palm width, and its methodology is described in Figure 14. Here we use a more sophisticated methodology than previous sections. It involves:


Download Image

Figure 14: alm width measurement methodology. (a) Extend little and index fingers. (b) Interconnect their far ends. (c) Extend this line on both sides. (d) Mask it with a hand edge. (e) Interconnect collision points. (f) Final measure.

  • Bitwise image mask logical operations;
  • Advanced image processing techniques like nearest connected components;
  • Classical image processing techniques like erosion and dilatation.

We start with the lines from little and index fingers and then extend its far end by about 30% (Figure 14a). In the next step, we interconnect their fair ends (Figure 14b). Now we need to extend this line on both sides in a factor of about 80% of its original size (40% to each side), as shown in Figure 14c.

For the next step, we need to load the hand edge (presented in the initial preprocessing section, Figure 8d) and mask it to the canvas image (Figure 14d). The result will produce small collision points by the intersection of images.

These small points must be dilated and then submitted to the nearest component analysis to detect their object centers (Figure 14e). Finally, by connecting these calculated centers, we find the palm width measurement.

Statistical processes

We use the bivariate 2-tailed Pearson correlation method. Deviations are shown in Figure 15.


Download Image

Figure 15: Palm and finger measurements and deviation.

The performance of the approach developed met the desired requirements, processing a pair of images of hands every 20 seconds on average.

Since all data follow a normal distribution (tested with the Shapiro-Wilk method with significances between (0.3 and 0.5), we adopted as the initial method of comparison the Pearson correlation (bivariate 2-tailed).

Figure 16 presents the individual results for the middle finger (97.15%), palm length (88.12%), other fingers (92.43%), and palm width (97.66%). All correlations presented are significant at the 0.01 level (2-tailed, p – value < 0.05).


Download Image

Figure 16: Measured correlations: automated vs. manual caliper (n = 208, p - value = 0.01). (a) Middle finger 97%. (b) Palm length 88%. (c) Other fingers 92%. (d) Palm width 97%.

The overall Pearson correlation is about 93.16% for all measurements from both hands and is presented in Figure 17.


Download Image

Figure 17: All measurements extracted from both hands: 93,16% (n = 208). (a) Right-hand set of measures. (b) Left-hand set of measures.

Despite the fact there are a considerable number of anthropometric studies published relating palm and finger measures with other subject features, our work was the first to automatize this process completely in order to able big data processing and their use in regional and national anthropometric censes. Our correlation surpasses the superior limit from previous studies reaching 93% against the 80% from manual methods.

A still existing limitation is the automatic extraction of the phalange widths, which we tried to extract but without success in the automatic method developed. However, this did not compromise the study, since the other articles also do not take these measurements into account, and it is something estimated for our future work, which could further improve the correction achieved.

In this work, we presented a low computational cost image processing methodology for the identification of hand features for forensic applications. We found that the developed approach meets the expectations since it achieves high correlation rates related to the test image database. Therefore, we believe that we have successfully created the necessary tool to be used in the next steps of the research (which will involve a massive collection of images) can be done successfully.

  1. Bhatnagar DP, Thapar SP, Batish MK. Identification of personal height from the somatometry of the hand in Punjabi males. Forensic Sci Int. 1984 Feb;24(2):137-41. doi: 10.1016/0379-0738(84)90093-8. PMID: 6706263.
  2. Ilayperuma I, Nanayakkara G, Palahepitiya N. Prediction of personal stature based on the hand length. Galle Medical Journal. 2009; 14(1).
  3. Agrawal J, Raichandani L, Sushma k, Raichandani S. Estimation of stature from hand length and length of phalanges. Journal of Evolution of Medical and Dental Sciences. 2013; 2(50):9651-9656.
  4. Guest R, Miguel-Hurtado O, Stevenage S, Black S. Exploring the relationship between stride, stature and hand size for forensic assessment. J Forensic Leg Med. 2017 Nov; 52:46-55. doi: 10.1016/j.jflm.2017.08.006. Epub 2017 Aug 26. PMID: 28865387.
  5. Samoon S, Itoo MS, Shahdad S, Jan N, Nisa G, Ahmad S. Correlation of stature and hand length in adult kashmiri population. International Journal of Contemporary Medical Research. 2018; 5(3):2454-7379.
  6. Case DT, Ross AH. Sex determination from hand and foot bone lengths. J Forensic Sci. 2007 Mar;52(2):264-70. doi: 10.1111/j.1556-4029.2006.00365.x. PMID: 17316220.
  7. Manning JT, Churchill AJ, Peters M. The effects of sex, ethnicity, and sexual orientation on self-measured digit ratio (2D:4D). Arch Sex Behav. 2007 Apr;36(2):223-33. doi: 10.1007/s10508-007-9171-6. PMID: 17373585.
  8. Kunkel. Brazilian Hand Database, www.mao3d.com.br, accessed in 2023.
  9. Sevastopolsky A. hands-images. https://github.com/seva100/ hands-images. 2018.